看似容易实现的手表手电筒,为什么只有佳明做,其他厂商不跟进呢?
佳明(Garmin)的许多高端产品集成了一个看似简单却备受好评的功能:LED 手电筒。
对于夜跑者、越野爱好者或任何需要在黑暗中解放双手的人来说,这是一个极其方便的“杀手级”应用。

然而,一个有趣的问题随之而来:既然这个功能如此实用,技术上看起来也并不复杂,为什么高驰、颂拓等运动手表,乃至苹果、三星、华为等主流智能手表厂商似乎并未跟进呢?
我本来以为也许是厂商为了区分度,不屑于模仿。
我最近看到佳明在 2023 年后申请的相关专利,才发现这个“小手电”背后,其实远比我们想象的要复杂。
佳明的手电筒远非“亮个灯”那么简单
许多人认为,手表手电筒无非是在表壳上加一个 LED 灯珠。
但其实佳明早已在专利中保护了这一技术。
基础专利:US 11711877 B2
- 核心标题: 带有集成手电筒的可穿戴设备
- 授权日期: 2023 年 7 月 25 日
- 保护范围/核心内容:
- 基础系统框架: 保护了“处理器 + 传感器 + 发光元件”这一整套联动系统。
- 运动感知控制: 核心是处理器能根据传感器(如加速度计)探测到的设备位置变化(例如手臂前摆或后摆),来自动控制 LED 灯的开关或模式。这保护的是功能的“大脑”和响应机制,而非仅仅是硬件本身。
强化专利:US 11956874 B2
- 核心标题: 带有集成手电筒的可穿戴设备 (延续案)
- 授权日期: 2024 年 4 月 9 日
- 保护范围/核心内容:
- 继承并加固: 继承了前案的运动感知控制系统。
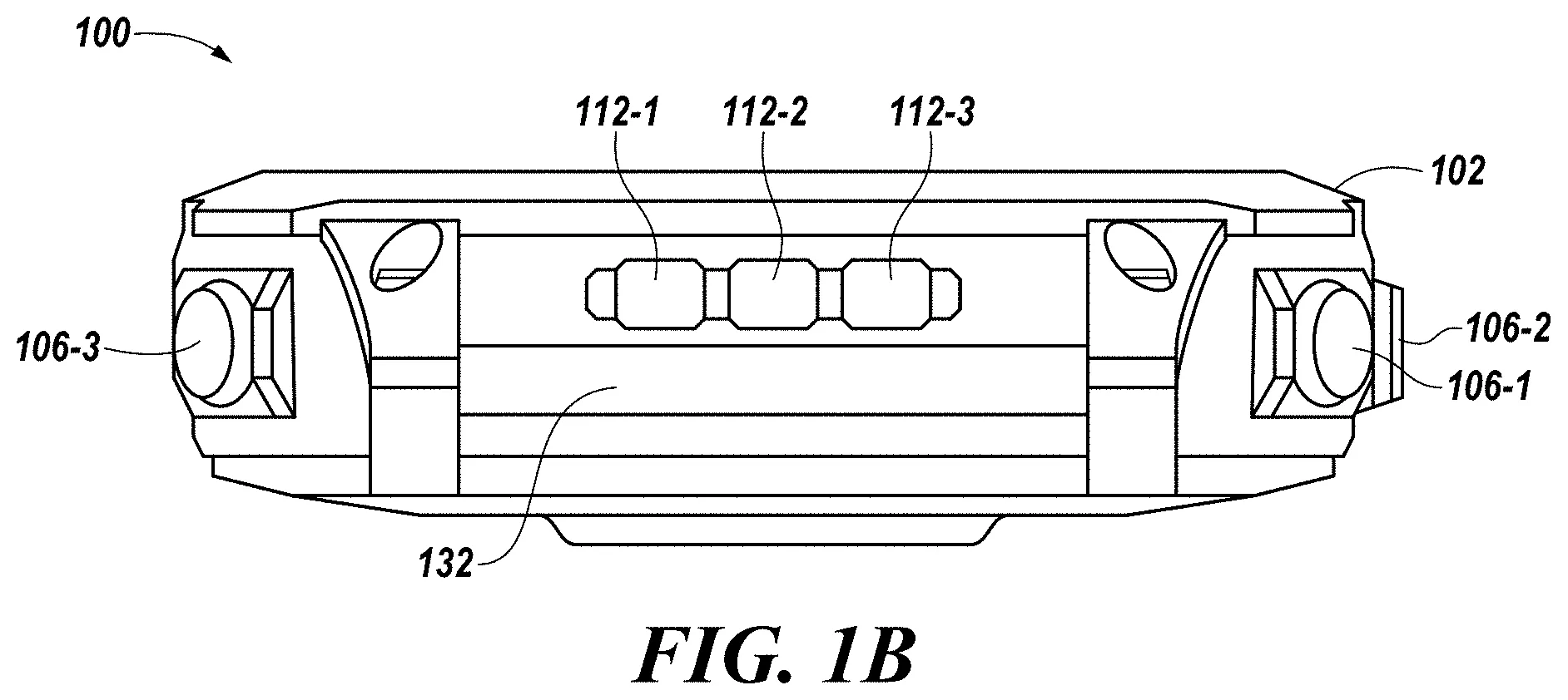
- 明确物理布局: 关键补充在于明确规定了发光元件的物理位置,即“位于(手表壳体)10 点钟和 2 点钟位置之间”。这直接将佳明产品上标志性的“12 点钟方向”手电筒的硬件布局纳入了法律保护范围,极大地增加了竞争对手在外观设计上规避的难度。

简而言之
- '877 号专利 保护了“怎么亮”(基于运动的智能控制逻辑)。
- '874 号专利 保护了“在哪亮”(12 点钟方向的物理设计)。
这种布局使得竞争对手难以模仿其硬件设计,更无法复制其在此基础上构建的智能照明生态系统。
总结
所以佳明独特的集成手电筒设计之所以在高驰等竞争品牌中未能普及,外观设计的专利保护是其核心壁垒。
佳明通过前瞻性的创新和及时的专利申请,成功地将一项实用的硬件功能转化为了自己独特的竞争优势。
在法律和商业的双重考量下,竞争对手在短期内难以直接“复制”这一设计,转而寻求在其他维度上进行差异化竞争。
对于消费者而言,这也使得佳明高端产品线的手电筒功能成为了一个独特的购买理由。